编写代码检查规则的神器,解读CodeNavi语法结构
本文分享自华为云社区《CodeNavi 规则的语法结构》,作者: Uncle_Tom。
1. 代码和检查规则
1.1. 代码的构成
程序是由空格分隔的字符串组成的序列。在程序分析中,这一个个的字符串被称为"token",是源代码中的最小语法单位,是构成编程语言语法的基本元素。
Token可以分为多种类型,常见的有关键字(如if、while)、标识符(变量名、函数名)、字面量(如数字、字符串)、运算符(如+、-、*、/)、分隔符(如逗号,、分号;)等。
程序在编译过程中,词法分析器(Lexer)读取源代码并将其分解成一系列的token。语法分析器(Parser)会使用这些 token 来构建一个抽象语法树(Abstract Syntax Tree, AST),这个树结构表示了代码的语法结构。这个时候每个 token 也可以称为抽象语法树的节点,树上某个节点的分支就是这个节点的子节点。每个节点都会有节点类型、属性、值。
这些是程序员非常容易理解的。
1.2. 检查规则
检查规则是查找代码节点中符合缺陷模式的检查规则。
通常静态分析工具的规则编写采用程序语言,这样开发人员除了要了解检查的问题本省,还需要理解静态分析理论,以及静态分析工具的框架,无形中增加了开发的难度。所以我们一直期望寻找到一种更适合编写静态分析规则的语言,让开发人员能够更好的专注于理解检查问题的本身,而不需要花更多的时间在如何实现上。
《寻找适合编写静态分析规则的语言》中我们给出了两个问题的解决,来描述我们对编写静态分析规则的期望。
例如:
检查问题:
- 生产环境中不应该有调试代码。
问题检查条件:
- 查找所有函数声明
- 并且(And):函数名以"debug"开头
- 并且(And):函数只有一个参数
- 并且(And):参数类型为"java.util.List"
问题代码样例
package com.dsl;
import org.apache.logging.log4j.LogManager;
import org.apache.logging.log4j.Logger;
import java.util.List;
/**
* 检查问题:生产环境中不应该有调试代码。
* 问题检查条件:
* - 查找所有函数声明;
* - 并且(And):函数名以"debug"开头;
* - 并且(And):函数只有一个参数;
* - 并且(And):参数类型为"java.util.List"。
*/
public class CheckDebug {
private static final Logger LOG = LogManager.getLogger(CheckDebug.class);
// 应检查出的问题函数
public void debugFunction(List<String> msgs) {
for (String msg : msgs) {
LOG.error("print debug info: {}", msg);
}
}
}
编写检查规则
DSL 写的检查规则
/** * 检查问题:生产环境中不应该有调试代码。 * 问题检查条件: * - 查找所有函数声明; * - 并且(And):函数名以"debug"开头; * - 并且(And):函数只有一个参数; * - 并且(And):参数类型为"java.util.List"。 */ functionDeclaration fd where and( fd.name startWith "debug", fd.parameters.size() == 1, fd.parameters[0].type.name == "java.util.List" );
2. 规则语法结构
下面我们进一步给出这种用于编写代码检查规则的工具 CodeNavi 的语法结构。
2.1. 规则的语法
结构图
语法说明
规则语句是以分号 (;) 结尾, 作为规则的终止符。
2.2. 语句结构
结构图
语法说明
节点(node): 为待检测代码节点(token);
as 别名:给要查找的节点一个别名,便于后面的使用。as 可以省略。别名的命名规则如下:
- 只能包含大小写英文字母和数字;
- 数字只能出现在末尾;
- 不能和规则内置的节点或属性同名。
- 例如:va1、fd、Field1都是合法的别名,1fc、v2a是非法别名。
2.3. 节点和节点属性
结构图
语法说明
- 节点(node):是代码对应语法树的节点或子节点;
- 属性(attribute):是代码对应语法树的节点或子节点的属性;
.: 节点、子节点、属性之间的连接符;
2.4. 条件表达式结构
结构图
语法说明
where: 条件表达式的标识;and:括号内的查询条件必须都为真;or:括号内的查询条件至少有一个为真;not:括号内的查询条件为假;
逻辑的连接祠是一种作用于查询条件的关键词。规则支持and、or 和 not 三个关联词。
逻辑的连接词需要和括号一同使用,括号中为具体的查询条件。其中,and 和 or 可以作用于多个查询条件(即括号中可以包含多个查询条件,以逗号分隔开),not 只能作用于一个查询条件。
逻辑连接词是一类作用于查询条件的特殊运算符(普通的运算符作用于节点或属性)
逻辑的连接词作用的查询条件也可以包含逻辑连接词。
示例/*
* 问题检查条件:
* - 查找函数名为 debug 或 foo;
* - 并且(And): 参数数量为 1 或 3。
*/
functionDeclaration fd where
and(or(fd.name == "debug", fd.name == "foo"),
or(fd.parameters.size() == 1, fd.parameters.size() == 3));
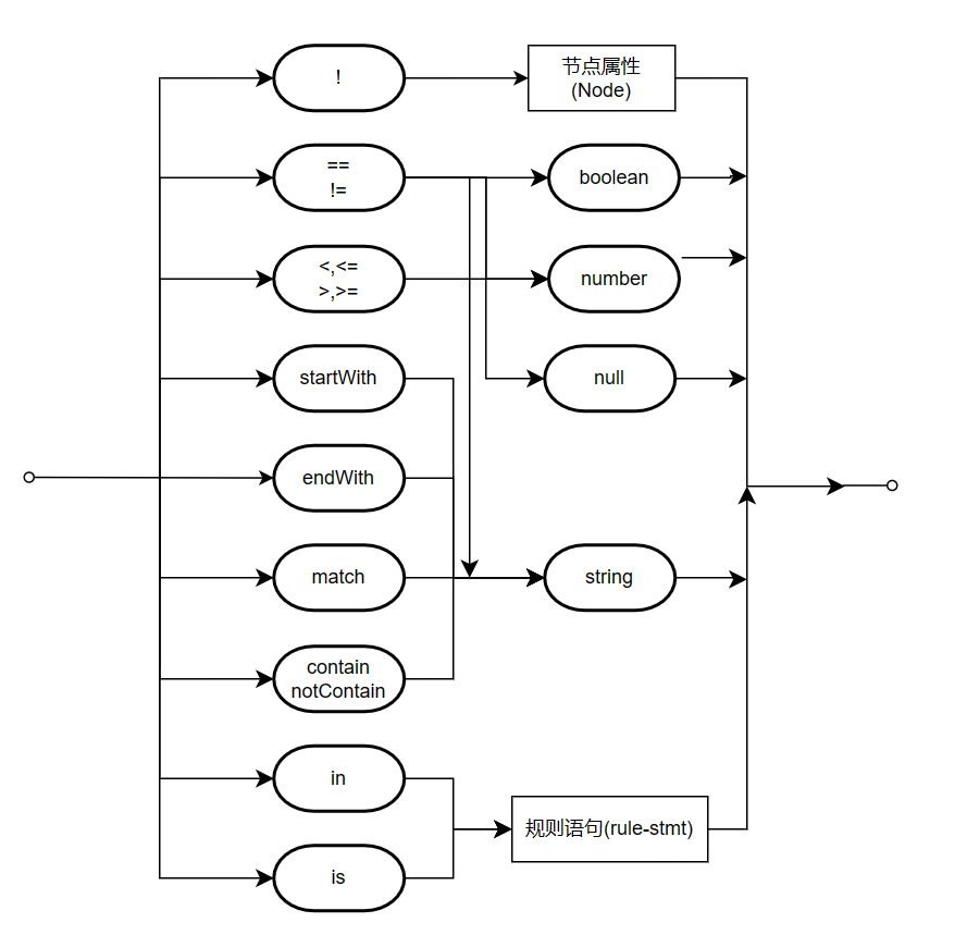
2.5. 条件判断(condition)
结构图
2.5.1. 运算符
查询条件通过运算符作用于具体的节点或属性从而完成节点筛选。
根据运算符作用的属性类别,我们可以将运算符分为:
- 通用运算符
- 算术运算符
- 字符串运算符
- 布尔运算符
- 节点运算符
运算符的左值为:节点或节点的属性。
2.5.1.1. 通用运算符(==, contain)
等于(==)、不等于(!=)
- 数字
- 运算符右值为:整数或小数。
- 例如:arguments.size() == 3
- 字符串
- 运算符右值为:字符串常量。
- 例如:name == “foo”
- 布尔
- 运算符右值为:布尔常量:
true或false。 - 例如:isPublic == true
- 运算符右值为:布尔常量:
- 节点
- 运算符右值为:空常量
null。 - 例如:initializer == null
- 运算符右值为:空常量
包含(contain)、不包含(notContain)
- 字符串
- 运算符右值为:字符串,且包含时,返回真。
- 例如:
recordDeclaration where name contain "debug";,返回函数名中包含"debug" 时,返回真。
- 节点
- 运算符右值为:子查询条件,当子查询返回的节点满足时,返回真。
- 例如:
functionDeclaration where parameters contain param where param.name == "i1";,返回包含名为i1参数的方法声明。
2.5.1.2. 算术运算符(>, <)
算术运算符操作数字。
大于(>)、小于(<)、大于等于(>=)、小于等于(<=)
数字
运算符右值为:数字,且满足时,返回真。
2.5.1.3. 字符串运算符(startWith, endWith, match)
字符串运算符操作字符串。
字符串的开始字符串(startWith)
- 左值开始字符串等于右值字符串时,返回真。
- 例如:
functionDeclartion where name startWith "debug";,筛选出名字以debug开头的方法声明。
endWith)
- 左值结束字符串等于右值字符串时,返回真。
- 例如:
functionDeclartion where name endWith "hello",筛选出名字以hello结尾的方法声明。
match)
- 左值符合右值的正则表达式时,返回真。
- 例如:
functionDeclaration where name match ".*(login).*",筛选出名字匹配正则表达式.*(login).*的方法声明。
2.5.1.4. 布尔运算符(!)
逻辑运算符操作布尔值。
非(!)
- 操作符位于布尔属性的左侧,表示布尔值为false时,返回真。
- 例如:
recordDeclaration where !isPublic等价于recordDelaration where isPublic == false。
2.5.1.5. 节点运算符(contain,in,is)
节点运算符的左侧可以是节点属性 或 别名。
包含(contain)
- 用于查询语法树结构上的子节点。
- 例如: 筛选出方法体内调用了名为foo的无参方法的方法声明。
functionDeclaration fd where
fd contain functionCall where
and(name == "foo",
arguments.size() == 0)); 存在于( in)
- 查询语法树结构上的父节点。
- 例如: 筛选出位于赋值表达式中的数据成员访问节点。
fieldAccess fa1 where
fa1 in assignStatement; 是( is)
- 右侧节点属性或别名相同时,返回真。
- 例如:筛选出出现在赋值表达式左侧的变量访问节点,且赋值表达式的右侧为方法调用节点。规则中的
va是节点variableAccess的别名。
variableAccess va where
va in assignStatement where
and(lhs is va,
rhs is functionCall);
2.5.2. 值类型
2.5.2.1. 布尔值
布尔值为布尔常量true或false。
布尔属性可以单独使用。单独使用时,布尔属性隐式等价于一个包含==的通用条件表达式。
例如,recordDeclaration where isPublic;等价于recordDeclaration where isPublic == true;
2.5.2.2. 数值
规则中的数值可以为整数或小数。
2.5.2.3. 字符串
字符串支持大小写英文字母、数字、以及正则表达式特殊字符。
2.5.2.4. 空值(null)
空值指的是源码中的null。
在使用时,空值往往和== 或 != 一同出现。
// private String field = null fieldDeclaration fd where fd.initializer == null; // str = null assignStatement as1 where as1.rhs == null;
3. CodeNavi插件
在Vscode 的插件中,查询:codenavi,并安装。






