#HarmonyOS NEXT体验官# 云开发-用户自动认证
踏入鸿蒙世界的敲门砖,标志着您在技术征途上的全新起点,提升就业竞争力,获得行业认可,点亮职业成长先机,快人一步抢占未来应用开发赛道!https://developer.huawei.com/consumer/cn/training/dev-cert-detail/101666948302721398?ha_source=hmosclass-csdn&ha_sourceId=89000445
背景
华为云服务提供了统一认证的云服务,支持手机、邮箱等自定义登录服务,并且提供了免费使用的额度,这样子方便中小企业或者项目快速的开发工作。下面是支持的认证方式:
操作步骤
1.AGC(AppGallery Connect)创建项目
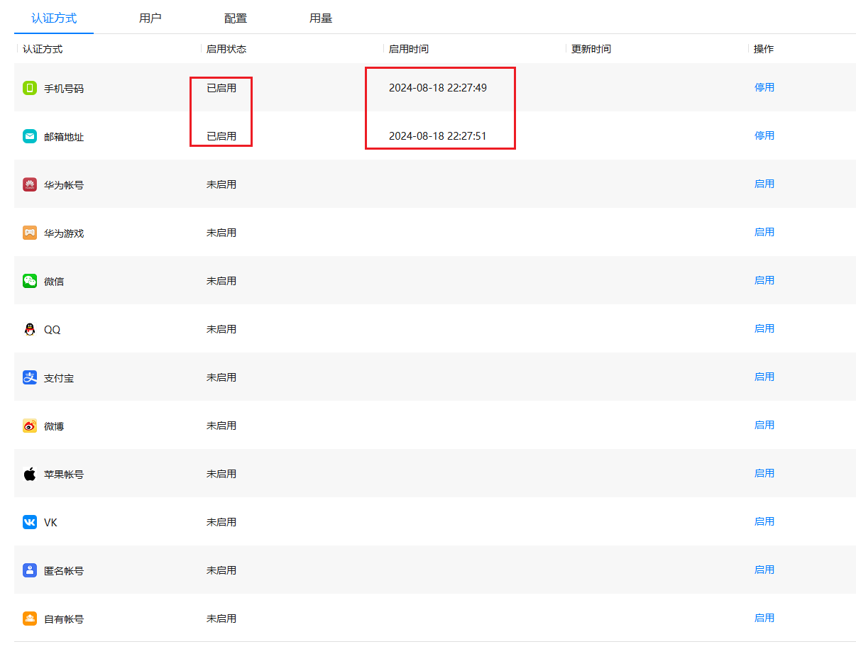
在AGC界面创建自己的云服务项目(详细可看上篇文章【HarmonyOS】端云一体化初始化项目),并开通认证服务,如下图:
启用手机号码和邮箱地址服务:
2.添加项目配置文件
在AGC的项目界面下载agconnect-services.json文件,并添加到本地的项目文件中。
3.添加与云服务相关的第三方库
· 在项目的终端中,输入 cd entry 进入entry目录
· 安装SDK
可以在entry->oh-package.json5文件中可以查看添加的第三方库和对应的版本号,可以看到添加了 @hw-agconnect/hmcore和 @hw-agconnect/cloud两个第三方库。
示例使用手机验证码实现登录功能
验证码的操作示意图
1. 搭建初始化界面
2.云服务认证使用初始化
修改EntryAbility文件代码进行初始化
· 添加import { initialize } from ‘@hw-agconnect/hmcore’
· 添加配置的JSON文件路径 :import serciceJson from ‘…/…/resources/rawfile/agconnect-services.json’
· 在OnCreate方法中添加初始化代码
修改示意图:
整体代码如下:
发送验证码
输入手机号码后点击获取验证码按钮,然后获取登录的验证码短信。短信截图如下:
完整代码:
主要调用requestVerifyCode方法去获取验证码信息,传入VerifyCodeParam类型对象。
VerifyCodeParam的属性解析:
· verifyCodeType :PhoneVerifyCode对象,主要输入phoneNumber和countryCode对象。
· action : 枚举值,选择获取验证码的类型
· lang : 语言
· sendInterval : 重复发送的时间间隔
根据验证码实现登录功能
实现登录效果
主要调用auth的signIn方法,并传入对应的电话号码和验证码。
SignInParam对象
· credentialInfo: CredentialInfo对象,设置电话号码和前缀,可以选择密码登录或者验证码登录
· autoCreateUser?: boolean; 设置当没有当前对象存在时,是否需要自动生成用户。
总结
以上示例仅仅对统一认证流程的讲解,其中完整的逻辑判断并没有添加,可以根据自己的需求来添加相应的逻辑判断。(转载自51CTO,作者:奥尼5354)























